- Clay pot
- Sweating.
- Refrigerator.
sharon kalunda answered the question on September 11, 2019 at 07:07
-
A certain powder of mass 100g was heated in a container by an electric heater rated 100w for some time. The graph below shows the...
(Solved)
A certain powder of mass 100g was heated in a container by an electric heater rated 100w for some time. The graph below shows the variation of the temperature of the powder with time.

Use the graph to:
(i) Determine the melting point of the powder
(ii) Determine the quantity of heat supplied by the heater from the time the powder starts to melt to the time it has melted.
(iii) Determine the specific latent heat of fusion of the powder assuming the container absorbs negligible amount of heat.
Date posted:
September 11, 2019
.
Answers (1)
-
The figure below represents a block of uniform cross-sectional area 6.0cm² floating on two liquids A and B. The length of the block in each...
(Solved)
The figure below represents a block of uniform cross-sectional area 6.0cm² floating on two liquids A and B. The length of the block in each liquid is shown.

Given that the density of liquid A is 800kg/m³ and that of liquid B is 1000kg/m³
determine.
(i) Weight of liquid A displaced.
(ii) Weight of liquid B displaced.
(iii) Density of the block.
Date posted:
September 11, 2019
.
Answers (1)
-
The figure below shows two forces F1 and F2 acting on an object.Show on the same figure the resultant force.
(Solved)
The figure below shows two forces F1 and F2 acting on an object.Show on the same figure the resultant force.

Date posted:
September 11, 2019
.
Answers (1)
-
An aircraft 320m from the ground travelling horizontally at 50m/s releases a bomb. Calculate the horizontal distance covered by the bomb from the point of...
(Solved)
An aircraft 320m from the ground travelling horizontally at 50m/s releases a bomb. Calculate the horizontal distance covered by the bomb from the point of release (ignore air resistance and g = 10m/s²).
Date posted:
September 11, 2019
.
Answers (1)
-
A cork enclosing steam in a boiler is held down by the system shown below.
(Solved)
A cork enclosing steam in a boiler is held down by the system shown below.

If the area of the cork is 20cm², and the force F is 300N, determine the pressure of the steam in the boiler.
Date posted:
September 11, 2019
.
Answers (1)
-
The figure below shows a solid sphere with its centre of gravity marked with a dot. The sphere is rolled on a horizontal ground and...
(Solved)
The figure below shows a solid sphere with its centre of gravity marked with a dot. The sphere is rolled on a horizontal ground and comes to rest after Some time.Sketch the sphere and mark with a dot the most likely position of the c.o.g after it comes to rest.

Date posted:
September 11, 2019
.
Answers (1)
-
The figure below shows water level in limb Q of a glass tube. Indicate the corresponding water levels in limb N, O and P.Explain your...
(Solved)
The figure below shows water level in limb Q of a glass tube. Indicate the corresponding water levels in limb N, O and P.Explain your answer.

Date posted:
September 11, 2019
.
Answers (1)
-
The figure below shows two identical burning splints. Placed on wood and metal blocks respectively it was observed that when the flame reached the edge...
(Solved)
The figure below shows two identical burning splints. Placed on wood and metal blocks respectively it was observed that when the flame reached the edge of the metal block the splint was extinguished while the other on the wooden block continued to burn. Explain this observation.

Date posted:
September 11, 2019
.
Answers (1)
-
When washing clothes, it is easier to remove the dirt using some warm water containing soap than cold water. Explain this observation.
(Solved)
When washing clothes, it is easier to remove the dirt using some warm water containing soap than cold water. Explain this observation.
Date posted:
September 11, 2019
.
Answers (1)
-
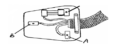
The figure below shows the inner parts of a three-pin plug.
(Solved)
The figure below shows the inner parts of a three-pin plug.

(i) Identify the pins A and B.
(ii) State the reason why the pin B is normally longer than the other two pins A and C.
Date posted:
September 10, 2019
.
Answers (1)
-
State how an increase in thickness affects electrical resistance of a conductor.
(Solved)
State how an increase in thickness affects electrical resistance of a conductor.
Date posted:
September 10, 2019
.
Answers (1)
-
The figure below shows part of a circuit containing three capacitors.
(Solved)
The figure below shows part of a circuit containing three capacitors.

(i) Calculate the effective capacitance between A and B.
(ii) Given that the potential difference (p.d.) across AB is 10V, what is the total charge flowing through the circuit?
Date posted:
September 10, 2019
.
Answers (1)
-
State how ‘Hysteresis loss’ can be reduced.
(Solved)
State how ‘Hysteresis loss’ can be reduced.
Date posted:
September 10, 2019
.
Answers (1)
-
The figure below shows a 12V, 24W lamp operated by a step-down transformer that is connected to a 240V mains supply.
(Solved)
The figure below shows a 12V, 24W lamp operated by a step-down transformer that is connected to a 240V mains supply.

(i) Explain what is meant by the term ‗laminated core’ and state its significance in a transformer.
(ii) Calculate the efficiency of the transformer if the current through the primary coil is 0.12 A.
Date posted:
September 10, 2019
.
Answers (1)
-
Plane water wave fronts are incident onto reflector SR as shown in the figure below. Show on the diagram the nature and direction of the...
(Solved)
Plane water wave fronts are incident onto reflector SR as shown in the figure below. Show on the diagram the nature and direction of the reflected wave fronts.

Date posted:
September 10, 2019
.
Answers (1)
-
The graph in the figure below shows the displacement of a pendulum bob from its rest position as it varies with time.
(Solved)
The graph in the figure below shows the displacement of a pendulum bob from its rest position as it varies with time.

(i) Determine the amplitude of the oscillation.
(ii) What is the time for one complete oscillation?
(iii) On the same graph, draw a sketch graph which represents a pendulum swinging with half the amplitude and twice the frequency.
Date posted:
September 10, 2019
.
Answers (1)
-
The figure below shows an experimental set up consisting of a mounted convex lens L, cardboard screen with cross-wires at the centre, a plane mirror,...
(Solved)
The figure below shows an experimental set up consisting of a mounted convex lens L, cardboard screen with cross-wires at the centre, a plane mirror, a metre rule and a candle.

Describe how the set-up may be used to determine the focal length, f, of the lens.
Date posted:
September 10, 2019
.
Answers (1)
-
The figure shows a ray of light incident on a glass-air interface.
(Solved)
The figure shows a ray of light incident on a glass-air interface.

(i) Show on the diagram the critical angle, c.
(ii) Given that the refractive index of the glass is ang, and that the critical angle c = 42º, determine the value of is ang.
Date posted:
September 10, 2019
.
Answers (1)
-
The figure shown below illustrates crests of circular water wave-fronts radiating from a point source O in a pond.
(Solved)
The figure shown below illustrates crests of circular water wave-fronts radiating from a point source O in a pond.

State how the depth of the pond at A compares with that at B.
Date posted:
September 10, 2019
.
Answers (1)
-
State one example of a transverse-progressive wave.
(Solved)
State one example of a transverse-progressive wave.
Date posted:
September 10, 2019
.
Answers (1)